Тел. 022 844-550

по будням с 9:00 до 18:00

Тормозной диск: VW, POLO (6N1)


Selection by parameters
Сторона установки
Задний мост (138)
Передний мост (82)
Тип тормозного диска
Вентилируемый (47)
Полный (135)
С внешней вентиляцией (2)
С внутренней вентиляцией (23)
С отверстиями (4)
Поверхность
Лакированный (2)
С покрытием (33)
Опции
Без аксессуаров (2)
С аксессуарами (2)
Производитель
A.B.S. 4
ABE 2
ACDelco 3
AP 2
ASHUKI 2
ATE 4
AUTOMEGA 2
BARUM 2
BENDIX 6
BOSCH 8
BRECO 1
BREMBO 2
Brake ENGINEERING 2
CAR 6
CASALS 1
CIFAM 2
COMLINE 3
DELPHI 4
E.T.F. 3
FEBI BILSTEIN 2
FENOX 3
FERODO 7
FREMAX 2
FTE 3
GALFER 2
GAM 2
GIRLING 2
HELLA 4
HELLA PAGID 4
ICER 2
JP GROUP 3
JURID 6
KAGER 1
KAMOKA 1
KAWE 3
KEJPARTS 1
KRAFT AUTOMOTIVE 2
LPR 3
MAGNETI MARELLI 3
MAPCO 2
MAXGEAR 2
METELLI 2
METZGER 3
MEYLE 1
MGA 3
MINTEX 4
NATIONAL 2
NECTO 3
NK 8
OPTIMAL 3
ORIENTAL 1
PAGID 4
PILENGA 2
PROFIT 1
PROTECHNIC 2
QH Benelux 6
QUINTON HAZELL 2
REMSA 3
ROADHOUSE 3
ROTINGER 4
SAMKO 2
SIMER 2
STELLOX 1
STOP 1
SWAG 2
TEXTAR 4
TOPRAN 2
TRISCAN 2
TRUSTING 2
TRW 2
VAICO 5
VALEO 2
VEMA 2
VILLAR 2
WAGNER 1
WOKING 3
ZIMMERMANN 4
fri.tech. 2
sbs 8
Сортировать по:
Сетка
Список
Бренд - Артикул, Название
Нал. Срок Цена Lei
PILENGA
5159

Тормозной диск ►
Тип тормозного диска: Полный
Сторона установки: Задний мост
Диаметр [мм]: 226
Толщина тормозного диска (мм): 10,00
Минимальная толщина [мм]: 8
Высота [мм]: 71,2
Диаметр центрирования [мм]: 39,9
Количество отверстий: 4
Найти аналоги
- Not available -
PILENGA
V855

Тормозной диск ►
Тип тормозного диска: Вентилируемый
Сторона установки: Передний мост
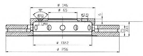
Диаметр [мм]: 256
Толщина тормозного диска (мм): 24,90
Минимальная толщина [мм]: 23
Высота [мм]: 39,2
Диаметр центрирования [мм]: 65
Количество отверстий 1: 4
Количество отверстий 2: 1
Найти аналоги
- Not available -
QH Benelux
6024.00

Тормозной диск ►
проверочное значение: K.B.A.: 61210
Сторона установки: Задний мост
Диаметр [мм]: 226
Высота [мм]: 71,2
Тип тормозного диска: Полный
Толщина тормозного диска (мм): 10
Минимальная толщина [мм]: 8
Количество отверстий: 4
Диаметр центрирования [мм]: 39,8
Найти аналоги
- Not available -
QH Benelux
6616.00

Тормозной диск ►
проверочное значение: K.B.A.: 61210
Сторона установки: Задний мост
Диаметр [мм]: 232
Высота [мм]: 39,5
Тип тормозного диска: Полный
Толщина тормозного диска (мм): 9
Минимальная толщина [мм]: 7
Количество отверстий: 4
Диаметр центрирования [мм]: 65
Найти аналоги
- Not available -
QH Benelux
6826.10

Тормозной диск ►
проверочное значение: K.B.A.: 61209
Сторона установки: Передний мост
Диаметр [мм]: 255,5
Высота [мм]: 39
Тип тормозного диска: Вентилируемый
Толщина тормозного диска (мм): 24,8
Минимальная толщина [мм]: 23
Количество отверстий: 4
Диаметр центрирования [мм]: 65
Найти аналоги
- Not available -
PROFIT
5010-0137

Тормозной диск ►
Сторона установки: Задний мост
Параметр: 252155
Найти аналоги
- Not available -
PROTECHNIC
PRD2636

Тормозной диск ►
Сторона установки: Передний мост
Тип тормозного диска: Вентилируемый
Диаметр [мм]: 256
Толщина тормозного диска (мм): 25.00
Минимальная толщина [мм]: 23
Количество отверстий: 4
Тип сборки: Закреплено болтами / шурупами
Диаметр центрирования [мм]: 65
Глубина [мм]: 40
Найти аналоги
- Not available -
PROTECHNIC
PRD5102

Тормозной диск ►
Сторона установки: Задний мост
Тип тормозного диска: Полный
Диаметр [мм]: 226
Толщина тормозного диска (мм): 10
Минимальная толщина [мм]: 8
Высота [мм]: 71,2
Диаметр центрирования [мм]: 39,8
Количество отверстий: 4
Момент затяжки [Нм]: 11
Найти аналоги
- Not available -
REMSA
6024.00

Тормозной диск ►
проверочное значение: K.B.A.: 61210
Сторона установки: Задний мост
Диаметр [мм]: 226
Высота [мм]: 71,2
Тип тормозного диска: Полный
Толщина тормозного диска (мм): 10
Минимальная толщина [мм]: 8
Количество отверстий: 4
Диаметр центрирования [мм]: 39,8
Вес [кг]: 4,42
Найти аналоги
- Not available -
REMSA
6616.00

Тормозной диск ►
проверочное значение: K.B.A.: 61210
Сторона установки: Задний мост
Диаметр [мм]: 232
Высота [мм]: 39,5
Тип тормозного диска: Полный
Толщина тормозного диска (мм): 9
Минимальная толщина [мм]: 7
Количество отверстий: 4
Диаметр центрирования [мм]: 65
Вес [кг]: 2,66
Найти аналоги
- Not available -
QH Benelux
BDC3712BD
BDC3712K

Тормозной диск ►
Сторона установки: Задний мост
Тип тормозного диска: Полный
Диаметр [мм]: 226
Найти аналоги
- Not available -
x2
QH Benelux
BDC5166

Тормозной диск ►
Сторона установки: Передний мост
Тип тормозного диска: С внутренней вентиляцией
Диаметр [мм]: 256
Найти аналоги
- Not available -
x2
QUINTON HAZELL
BDC5166

Тормозной диск ►
Сторона установки: Передний мост
Тип тормозного диска: С внутренней вентиляцией
Диаметр [мм]: 256
Найти аналоги
- Not available -
x2
QH Benelux
BDC3712
BDC3712K

Тормозной диск ►
Сторона установки: Задний мост
Тип тормозного диска: Полный
Диаметр [мм]: 226
Найти аналоги
- Not available -
x2
QUINTON HAZELL
BDC3712
BDC3612

Тормозной диск ►
Сторона установки: Задний мост
Тип тормозного диска: Полный
Диаметр [мм]: 226
Количество отверстий: 4
Найти аналоги
- Not available -




tecdoc-module.com v3130